Share on (1100000379550):
Форфас из нержавейки на пивоваренное оборудование
Форфас используется для хранения пива.Он полностью выполнен из нержавеющей стали.Его внешняя поверхность выполнена из
высококачественной стали AISI304 с холоднокатаной отделкой.
Данный продукт оснвщен дыхательным клапаном и системой наполнения углекислым газом.Лагерный танк может не только отображать
температуру и давление на месте,но также может быть соединен с автоматической системой управления для осуществления функций
удаленного дисплея и автоматического контроля.Регулируемые опоры облегчают установку оборудования.Рабочий объем может варьироваться
от 7 до 200 баррелей.
В качестве хладагента для теплообмена внутри пуклеванной рубашки охлаждения используется разбавленный спирт.
Особенности конструкции:
1.внешний вид:
Лагерный танк разработан с выпуклыми днищами.
2.рубашка охлаждения
Рубашка охлаждения разделена на несколько сегментов.Первый и второй сегменты танка используют пуклеванную рубашку охлаждения
попученную путем точечной сварки.Они распределены в зависимости от поверхности теплообмена и технических требований.
Один сегмент на днище танка также использует пуклеванную рубашку.
3.система очистки
Система безразборной мойки(CIP),которая находится в верхней части танка позволяет промывочной воде и углекислому газу использовать
одну трубу для поступления в танк.Она также гарантирует сохранение давления и скорости потока промывочной воды и углекислого газа
при попадании в устройство.
4.комплектующие
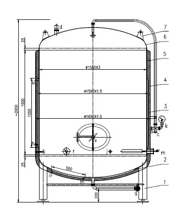
Мы можем предоставить лагерные танки с люком,расположенным сверху или сбоку. В верхней части установлен предохранительный клапан.
Когда давление внутри резервуара превышает рабочее и достигает 30psi,предохранительный клапан автоматически открывается для понижения
давления.После этого он автоматически закрывается. Лагерный танк также оснащен термометром,манометром,клапаном для отбора проб, двустворчатым клапаном и выпускным отверстием.Все детали быстросъемым соединением.
5.система мониторинга
A.данный лагерный танк оборудован соединением с термометром,который обеспечивает удобное наблюдение на месте.
B.наш продукт оснащен термометром,который обеспечивает удобное наблюдение на месте.
C.это устройство также произведено с клапаном для отбора проб с удобным рабочим положением.Данный клапан позволяет в любое время
брать пробы и анализировать качество сусла внутри лагерного танка.
| Основные технические параметры | BT-2BBL | BT-7BBL | BT-10BBL | BT-15BBL | BT-20BBL | BT-25BBL | BT-30BBL | BT-40BBL | BT-50BBL | BT-60BBL | BT-90BBL | BT-120BBL | |
| Полезный объем(BBL) | 2 | 7 | 10 | 15 | 20 | 25 | 30 | 40 | 50 | 60 | 90 | 120 | |
| общий объем(BBL) | 2.7 | 8.7 | 12.5 | 18 | 24.8 | 29 | 35.9 | 48 | 57.8 | 68.5 | 105.9 | 135.5 | |
| материал | полностью из нержавеющей стали304 | ||||||||||||
| Диаметр внутреннего цилиндра(mm) | 700 | 1000 | 1100 | 1300 | 1500 | 1500 | 1650 | 1700 | 1850 | 2000 | 2100 | 2100 | |
| высота цилиндра(mm) | 600 | 1000 | 1220 | 1220 | 1220 | 1500 | 1500 | 2000 | 2000 | 2000 | 3000 | 4000 | |
| диаметр цилиндра mm | Диаметр внутреннего цилиндра+Толщина изоляции*2 | ||||||||||||
| высота ссылки(mm) | 1450 | 1950 | 2200 | 2300 | 2350 | 2650 | 2700 | 3200 | 3300 | 3350 | 4400 | 5400 | |
| Внутренний цилиндр шероховатость поверхности | Ra≤0.22μm | ||||||||||||
| днищевнешней поверхности шероховатости | Зеркально полированный или матовый матовый обработки или переработки | ||||||||||||
| тип днище | DHAилиDHB или заказать | ||||||||||||
| тип рубашки | Майтрейя доски куртка с эффективной технологией передачи тепла, существенное увеличение скорости нагрева , толщиной 1,5 мм , сварные диаметром 12мм, соседние отверстия межосевым расстоянием 80 мм , высота 15 мм куртку | ||||||||||||
| охлаждение области m² | 1 | 2 | 3 | 4 | 5 | 6 | 7 | 9 | 11 | 13 | 16 | 19 | |
| Изоляционные материалы | PU | ||||||||||||
| Толщина изоляции(mm) | 50/80/100 | ||||||||||||
| Внешняя оболочка | 2Bдоски или Зеркально полированный или матовый матовый обработки или переработки,толщина2mm | ||||||||||||
| впуское отверстие | верхнего отверстия | DN300,DN350,DN400,DN500,DN600 можно выбрать | |||||||||||
| бокового отверстия | Овальный люк580X480,530X430,500X400 можно выбрать | ||||||||||||
| Регулируемые ножки | 3или4 | ||||||||||||
| CIP очистки труб | БыстрыеΦ32/Φ38/Φ51,используя быстрое соединение зажим, съемные , 360 степень очистки , установленный на верхней части устройства | ||||||||||||
| проушина лестница стропа | соответствовать вHG/T 21574-2008 | ||||||||||||
| жидкостное устройство | Санитарный шланг устройства для очистки связана с прозрачной жидкостью порта разряда | ||||||||||||
| шарик чистки | Быстрые Φ63/Φ76/Φ89 , используя быстрое соединение зажим, съемные , 360 степень очистки , установленный на верхней части устройства | ||||||||||||
| выгрузочное окно | Быстрые Φ25/Φ32/Φ38/Φ51/Φ63 , восприятие глубины также можете выбрать два различных высотах нижней носик , зажим соединения | ||||||||||||
| бесопасный клапан | быстроразборноеΦ51 | ||||||||||||
| загруочный приём дрожжей | быстроразборноеΦ76/Φ89/Φ102/Φ133/Φ159 | ||||||||||||
| Термометр сопла | M12X1.5(цифровой указатель)/M27X2или быстроразборноеΦ32 | ||||||||||||
| отверстие манометра | M20X1.5/быстроразборноеΦ32 | ||||||||||||
| отверстие для взятия проб | быстроразборноеΦ25 | ||||||||||||
| Рот Карбонизацию камень | быстроразборноеΦ51/Φ63/Φ76/Φ89 | ||||||||||||
| дыра опоражнивания | быстроразборноеΦ25/Φ32/Φ38/Φ51 | ||||||||||||
| вход и выход ручашки | внутренная/внешняя резьба | ||||||||||||
| табличка | надпись Лазерная гравировка , подробное | ||||||||||||
| арматура | Горячий термометр скважин , отбор проб клапаны, манометры, датчики давления / вакуумным клапаном , 3 клапана , C02 порта , PVRV , индикатор уровня пива | ||||||||||||
| примечание | Если гости делают специальные запросы могут быть адаптированы в соответствии с требованиями заказчика | ||||||||||||





Передовое оборудование:

Клиенты из разных стран:

Наша команда:






New products from manufacturers at wholesale prices