Share on (1600144351650):
• Of roughly 1,200 sake breweries throughout Japan, we deal with more than 300 of them.
• We deal with sake breweries in all 43 prefectures throughout Japan, from Hokkaido to Kyushu.
• We handle a wide range of products, ranging from reasonably priced sakes for daily consumption to upscale gift sakes. We are the #1 Japanese sake wholesalers in Nagoya.

What is your favorite Sake?
Japanese sake type
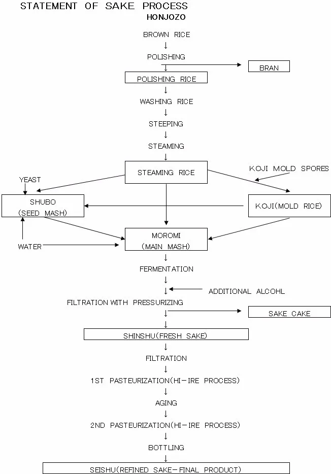
l Honjozo Type: Honjozo is sake that has a small amount of brewer's alcohol added to the fermenting sake mash.
l Junmai Type: Junmai is made with only rice and rice koji.
.
Honjozo Type | Junmai Type | ||||
Type | Ingredients used | Rice polishing ratio | Type | Ingredients used | Rice polishing ratio |
Daiginjo shu | rice, koji, distilled alcohol | Less than 50% | Junmai Daiginjo shu | rice, koji | Less than 50% |
Ginjo shu | Less than 60% | Junmai Ginjoshu | Less than 60% | ||
Tokubetsu Honjozo shu | Less than 60% or special process | Tokubetsu Junmai shu | Less than 60% or special process | ||
Honjozo shu | Less than 70% | Junmai shu | - | ||
*The rice used must be of a quality rated as or equivalent to third grade or higher under the Agricultural Products Inspection Act.
*The amount of distilled alcohol used must be no more than 10% of the weight of the white rice.
*By mandate, the rice polishing ratio must be labeled.
Four-type classification method
SOSHU (light and smooth type) | Aroma: Modest aroma of fruit |
Flavor: smooth, refreshing, gentle | |
KUNSHU (fragrant type) | Aroma: expressive, complex, and well-balanced aroma of fruit |
Flavors: light and refresh, with scent of forest velvety | |
JUKUSHU (aged type) | Aroma: expressive and powerful, butter caramel, clove |
Flavors: Pleasant bitterness, long finishing | |
JUNSHU (rice type) | Aroma: modest aroma of steamed rice, cedar, cream |
Flavor: steamed rice |
Production method


l Shuzo kotekimai (Rice suitable for sake brewing)
l Yamada Nishiki: Produced primarily in Hyogo, Okayama, and Fukuoka prefectures, it is particularly popular as the raw material for the highly fragrant daiginjo (top-quality sake brewed from rice grains milled to 50% or less of their weight)
l Gohyaku-mangoku: A well-known variety cultivated primarily in Toyama and Fukui prefectures.
l Omachi: Cultivated primarily in Okayama Prefecture, it produces a sake with a distinctive "roundness.
l Miyama Nishiki: Strong to cold weather. Miyama Nishiki is cultivated northern area in Japan
We also sell Sake set

New products from manufacturers at wholesale prices