Share on (1600157003545):
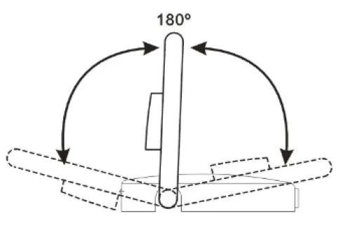
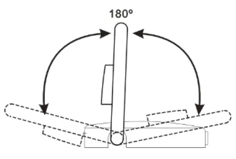
Model | RV-P-001 | ||||||
Color | Yellow Arm + Black Base (custom color is acceptable) | ||||||
Control Way | Remote Controlled (≤50 meters) | ||||||
Power Type | Rechargeable Battery (Solar Optional) | ||||||
Working Time | 6-8 Month | ||||||
Material | Quality Steel + UV Resistant Powder Coating | ||||||
Rising Height | 400mm | ||||||
Dimension | 460x460x400mm | ||||||
Weight | 7.5KGS | ||||||
Protection Grade | IP67 | ||||||
* | Please ask our salesman for more tech info if needed | ||||||











New products from manufacturers at wholesale prices