Share on (1600200548724):
Industry Focus
| Automotive/ Appliance / Agricultural / Aero Mining/ Hydraulics/ Valves Electrical /Oil and Gas/ Construction |
Intended Application | Shafts Valve Components Automatic Door Components Cable/ Electronic Connector Fire Suppression System Components Fittings/ Fasteners Gears/ Hardware Roller Bearings |
Lead Times Available
|
Max: one Weeks in normal conditions, except your specific order
|
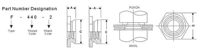
Industry Standards | PEM Compliant |
Equipment List
|
experimental and testing equipment from Japan and Taiwan high presision automatic lathe, CNC lathe |
Automation Capabilities |
Continuous Machining
|
Material (Metals)
| Alloy Steels/ Aluminum/ Brass/ Bronze Alloys Carbon Steel/ Copper/ Stainless Steel/ Tool Steel Cold Rolled Steel/ Bearing Steel |
Tolerance
| Hobbing/Broaching/ Slotting |


New products from manufacturers at wholesale prices