Share on (1600255138483):



1 | Ambient operating limits | -10...+50 °C at 5...95% RH |
2 | Ambient storage limits | -40...+70 °C at 5...95% RH |
3 | Protection standard | IP54 per DIN 40050 |
4 | Insulation | Class II per DIN EN60730 |
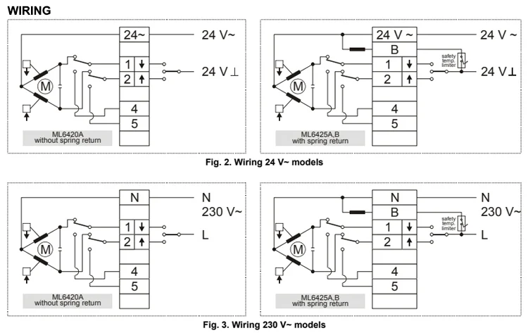
5 | Wiring terminals | 1.5 mm2 |
6 | Cable entry | M20x1.5 and two additional knock-outs M16x1.5 and M20x1.5 |
7 | Material Cover | ABS-FR |
8 | Material Base | glass fiber reinforced plastic |
9 | Material Yoke | aluminum diecast |
ML6420A3007-E | ||||
1 | supply voltage | 24 Vac ±15%, 50/60 Hz | ||
2 | medium valve temperature* | 150 °C | ||
3 | power consumption | 4 VA | ||
4 | signal input 1 | Supply voltage betw. terminals 1 and 24 V; stem extended. 2-way valve: “closed“, 3-way valve port A-AB: “open“ | ||
5 | signal input 2 | Supply voltage betw. terminals 2 and 24 V; stem retracted. 2-way valve: “open“, 3-way valve port A-AB: “closed“. | ||
6 | stroke | 20 mm | ||
7 | run time at 50 Hz | 1 min | ||
8 | close-off force | ≥600 N | ||








New products from manufacturers at wholesale prices