Multi effect falling film evaporator

Share on (1600288516622):


Price:$50,000.00

Quantity:


Product Overview

Description



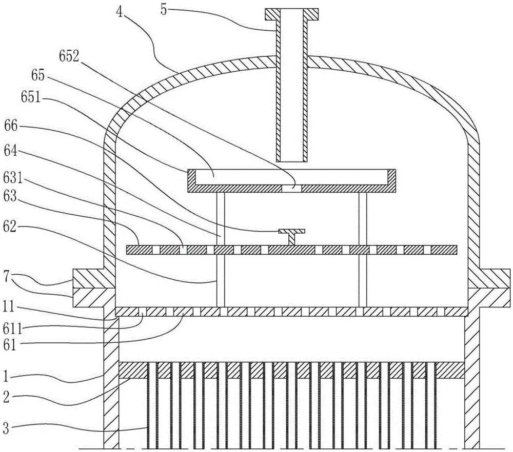
Working principle of falling film evaporator
The feed liquid is added from the upper tube box of the heating chamber of the falling film evaporator, and the liquid is evenly distributed to each heat exchange tube through the distribution and film-forming device. Under the action of gravity, vacuum induction and air flow, it forms a uniform film and flows from top to bottom. During the flow process, the liquid is heated and vaporized by the shell side heating medium, and the generated steam and liquid phase enter the separation chamber of the evaporator together. After full separation, the steam enters the condenser for condensation (single effect operation) or the next effect evaporator as the heating medium, so as to realize multi effect operation, and the liquid phase is discharged from the separation chamber.






0.2082 s.