Share on (1600348255672):
High Pressure Hydraulic Electric Oil Pump
This pump is the reinforcement tensile power and control part, is the use of rated oil pressure within 50-60mpa of various types of jacks power equipment. Can also be used in other types of low flow, high pressure hydraulic machinery.
In the case of equipped with a variety of special machines, it can realize lifting, bending, straightening, extrusion, scissors, riveting, disassembly, press-assembly and other work requirements as hydraulic power parts, but also can be installed in other mechanical equipment. It has the characteristics of small volume, light weight, simple structure, convenient operation and high working pressure.




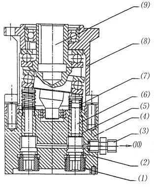
(1)Screw Plug (2)Distributing (3)Nozzle (4)Lower Part (5)Plunger Sleeve (6)Plunger (7)Return Spring (8)Upper Part (9)Axis (10)Out-Put Port

1.Unload Valve Socket Assembly 2.Throttle Valve Socket Assembly 3.One-Way Valve Assembly 4.Steel Ball 5.Connector Of Pressure Meter 6.Output Nozle 7.Control Valve Body 1 8.Intake Nozzle 9.Control Valve Body 2 10.Relief Valve Assembly 11.Oil-Return Nozzle
Type |
Nom. Pressure
MPa |
Nom. Flow
L/Min |
Power
KW |
Cylinder capacity
L |
Frequency
HZ |
Weight
KG |
Size
MM |
| ZB10-800H | 80 | 10x10 | 7.5 | 120 | 50 | 270 | 1090*590*1120 |
| ZB6-600 | 60 | 6x6 | 5.5 | 120 | 50 | 270 | 1090*590*1120 |
| ZB4-600H | 50 | 4x4 | 4 | 40 | 50 | 120 | 745*494*1052 |
| ZB4-500 | 50 | 2x2 | 3 | 40 | 50 | 130 | 745*494*1052 |
| ZB2-500 | 50 | 2x2 | 1.5 | 25 | 50 | 66 | 660*460*260 |








New products from manufacturers at wholesale prices