Share on (1600515134806):
Universal Index Center(Dividing Head)
Features:
The Universal Index Center has been designed to carry out all types of gear cutting.Precision dividing and spiral word with greater precision and efficiency than ever. The Center face can be tilted from a Horizontal position of 90° down to -10° from vertical,and inclinations can be read off a scale graduated in degrees.The center is built to highest engineering standards and is factory inspected and tested to assure complete satisfaction.The ratio of worm to gear is 1:40.

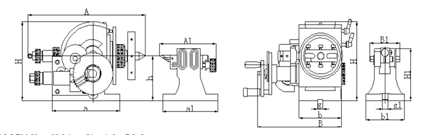
| Item No. | Model | A(mm/in.) | B(mm/in.) | H(mm/in.) | h(mm/in.) | a(mm/in.) | b(mm/in.) | g(mm/in.) | Morse Taper | N.W.(kg) |
| 521044 | BS-2 | 370 | 280 | 236 | 133 | 212 | 134 | 16 | MT4 | 76 |
| 14.57 | 11.02 | 9.29 | 5.24 | 8.35 | 5.28 | 0.63 | B&S NO.10 |
UNIVERSAL INDEX CENTER B & S NO.2(TAIL-STOCK) Unit:mm/in
| Model | A1(mm/in.) | B1(mm/in.) | H1(mm/in.) | h(mm/in.) | a1(mm/in.) | b1(mm/in.) | g1(mm/in.) | Note |
| BS-2 | 183 | 90 | 156 | 133 | 175 | 122 | 16 | Packed with the Dividing head |
| 7.2 | 3.54 | 6.14 | 5.24 | 6.89 | 4.8 | 0.63 |
OPTIONAL ACCESSORY:6" or 8" 3-jaw Chuck for BS-2
STANDARD ACCESSORIES
Dividing plate A,B,C.
Numbers of holes of dividing plate(worm gear reduction ratio 1:40) Unit:mm/in
| Numbers of hole | Plate A | 15 | 16 | 17 | 18 | 19 | 20 |
| Plate B | 21 | 23 | 27 | 29 | 31 | 33 | |
| Plate C | 37 | 39 | 41 | 43 | 47 | 49 |
Welcome to visit our office and factory~

New products from manufacturers at wholesale prices