Share on (1600537366064):
Items | Specifications | ||
Input | Rated Voltage | Single phase220V, three phase 200V, three phase 380V, three phase 480V; 50Hz/60Hz | |
Range | Voltage: ±20% voltage unbalance rate:<3%; frequency: ±5% | ||
Output | Output voltage | 0~200V/220V/380V/480V | |
Frequency range | 0Hz~500Hz | ||
Frequency resolution | 0.01Hz | ||
Overload ability | 150% rated current for1minute, 180% rated current for3 seconds | ||
Control function | Modulation modes | Optimized space voltage vector SVPWM modulation | |
Control mode | Sensorless vector control (with optimal low frequency compensation) | ||
Frequency accuracy | Digital setting: The highest frequency×± 0.01% Analog setting: The highest frequency ×±0.2% | ||
Frequency resolution | Digital setting: 0.01Hz; Analog setting: The highest frequency× 0.1% | ||
Start frequency | 0.40Hz~20.00Hz | ||
Torque boost | Auto torque boost, manual torque boost 0.1%~30.0% | ||
V/F curve | Five ways: constant torque V/F curve, 1 kind of user defined V/F curve ,3 kinds of down torque curve(2.0/1.7/1.2times the power) | ||
Acc./Dec. curve | Two ways: linear Acc./Dec.,S-curveAcc./Dec.;7 kinds of Acc./Dec. time, Time unite (minute/second) optional, max time: 6000 minutes. | ||
DC braking | DC braking start frequency:0~15.00Hz braking time:0~60.0s braking current:0~80% | ||
Energy consuming braking | Below 22KW drive built-in energy consuming braking unit, external braking resistor is optional. | ||
Jog running | Jog frequency range:0.1Hz~50.00Hz, JOG Acc./Dec. time: 0.1~60.0s | ||
PID built-in | Easily constitute a close loop control system | ||
Multi-stage speed running | Multi-stage speed running available through built-in PLC or control terminals | ||
Textile swing frequency | Swing frequency available with preset and central frequency adjustable | ||
Auto voltage regulation | Keep a stable voltage automatically when the grid voltage transients | ||
Auto energy saving running | Saving energy by auto optimizing V/F curve according to the load | ||
Auto current limiting | Auto current limiting to prevent frequent over current fault trip | ||
Fixed-length control | Inverter stops when reaches the preset length | ||
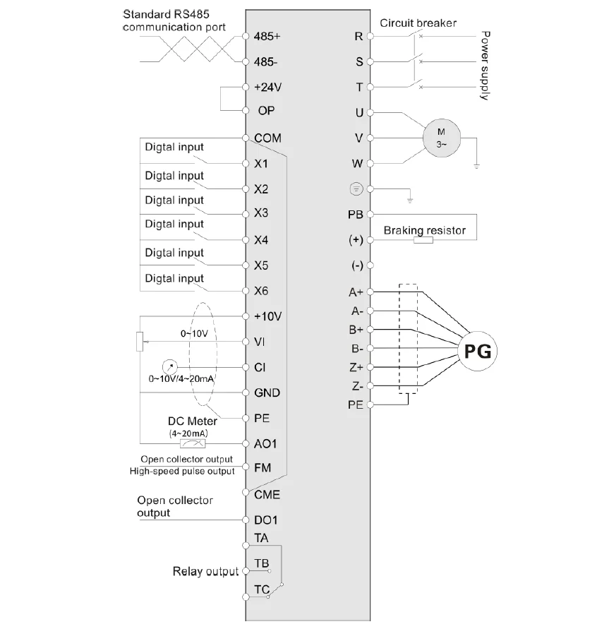
Communication | RS485 standard communication port available, support MODBUS communication protocol of ASCII and RTU, master-slave multi-machine interaction function available | ||
Control panel | LED digital display | Display setting frequency, output voltage, output current, etc. | |
External meter display | Display output frequency, output current, output voltage, etc. | ||
Key lock | All the keys can be locked | ||
Parameter copy | Function code parameters are able to be copied between inverters when use remote control panel. | ||
Protection function | Overcurrent protection; overvoltage protection; undervoltage protection; overheating protection; overload protection, etc. | ||
Environment | Environment | Indoors, free from direct sunlight, dust, corrosive gas, oil mist, steam, water dropper salt, etc | |
Altitude | Lower than 1000m (derating is necessary above 1000m) | ||
Ambient temperature | -10℃~+40℃ | ||
Humidity | <90%RH, no condensation | ||
Vibration | Lower than 5.9m/s (0.6g) | ||
Structure | Protection level | IP20(In the selection of state display unit or the keyboard state) | |
Cooling | Forced air cooling | ||
Installation | Wall mounted; Floor mounted | ||










New products from manufacturers at wholesale prices