Share on (1600567909505):
Tunnel Construction Conduit Forming
Machine Steel Round Tube Taper Swaging
Machine


TECHNICAL PARAMETER
| MACHINE SIZE | 76*800 SIZE |
| MOLD SIZE | 800*60*50 |
| PROCESS RANGE (MM) | φ12-φ76 |
| THICKNESS (MM) | 1.0-1.2 |
| FORMING TIME (SECOND) | 40-60 |
| FORMING LENGTH (MM) | 790 |
| MAIN MOTOR | 15 KW |
| SPINDLE SPPED (REV/MIN) | 200 |
| SPINDELE CENTER HEIGHT | 1000 |
| WEIGHT (KG) | 4600 |
DETAIL INTRODUCTION
Tube tapering machine is abbreviated as taper tube machine, which
is specially developed to make taper pins of hardware furniture sofa.
Can also be used as a cone tube for a dining bar.
ADVANTAGE
1. New structure, easier to replace internal parts.
2. Small noise and easy operate.
3. Tube tapering machine, on-site measurement and consulting
the master of the processing department, 2000 tubes a day.
4. The 4-level motor has high power and strength, and can process
thick stainless steel pipes.
6. The taper tube mold can be adjusted.
7. The required specifications of the cone tube can be positioned.



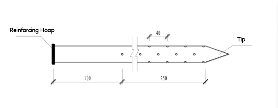
TUNNEL CONSTRUCTION CONDUIT PROCESS
It is a process method in the process of tunneling and construction,
and a effective auxiliary construction method to stabilize the excavation
face. The material is generally welded steel pipe or seamless steel pipe,
and the pipe diameter is generally about 40-50mm.
Tunnel construction conduit production: the front end is made into a sharp
cone, and 10-20cm holes are drilled, etc.


COMPLETED SAMPLES



HOW IT PROCESS

1. Mold CNC Engraving

2. Mold showing (1 set 4 pcs)

3.High frequency machine heating tube

4. put tube on machine fixture start process

5. Completed

FULL SETS EQUIPMENTS
![]() | ![]() | ![]() |
![]() | ![]() | ![]() |



CONTACT US

New products from manufacturers at wholesale prices