Share on (1600707203458):
Third current conductor contact rail for metro
It is mainly used for urban rail transit and electrified railway transmission system. Compared with the existing low carbon steel conductor rail, it has a series of advantages, such as low resistance, light weight, corrosion resistance, little wear, etc. It can save about 60% of the energy loss and the service life will be more than 50 years.
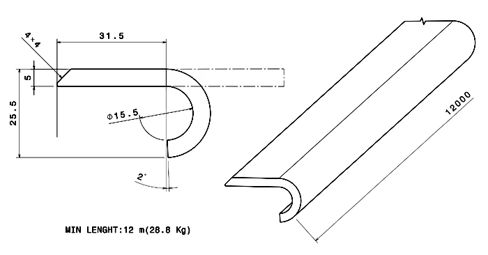
Drawing of J form cover:


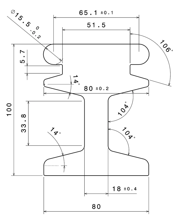
Drawing of Al conductive rail:


Material of Aluminum rail:
Chemical composition | ||||||||||
Si | Fe | Cu | Mn | Mg | Cr | Zn | Ti | other single | other total | |
0.2-0.6 | 0.35 | 0.1 | 0.1 | 0.45-0.9 | 0.1 | 0.1 | 0.1 | 0.05 | 0.15 | |
Technical specification:
Description of contact rail | Unit | Data |
Type | AL-ST | |
Normal voltage rating | V | 750 |
Maximum resistance (20°C) | mΩ/km | 6.74 |
Permissible continuous current load | A | 4500 |
Permissible short-circuit current | kA | |
Cross section | mm2 | 4747.19 |
Weight | kg/m | 12.817 |
Moment of inertia to horizontal center axle | cm4 | |
Coefficient of thermal expansion | ||
Manufacturer standard length | m | 12 |
Commercial description:
| Item No. | Description |
| 1 | SS430 J form long strip, unit weight 2.4 kg/m, length 12m |
| 2 | Aluminum Third conductor rail as your drawing, Material 6063-T6, Length 12m, Unit weight 12.71 kg/m |
Photos of manufacturer:


The steel and aluminum composite materials of the steel aluminum composite conductor rail are the solid metallurgy combination of the cleaned steel strip and aluminum profile in the mixing mold according to the conventional process parameters. This metallurgical combination is formed through the role of heat and pressure in the kneading process, and with a special conductive layer. In this process, the metal compound Al3Fe2 is formed between aluminum and iron atoms, and the metallurgical bonding between the two materials will reduce the interlayer resistance. Since there is no gap between the contact surface of steel and aluminum, the contact surface is not easy to be corroded and damaged, which can ensure the stability of low resistance for a long time. In addition, the peel test has proved that it is impossible to peel the steel strip from the aluminum body. Only special things can separate steel from aluminum. The metallurgical combination between steel and aluminum can withstand great external forces without deformation.
In addition, problems such as discoloration, scratches and scratches on the steel surface are allowed to occur during processing without affecting the practicability of the product.
The steel aluminum composite conductor rail is made of low-carbon alloy steel and aluminum alloy. Aluminum alloy is the main body of conductor rail. When selecting materials, its excellent conductive function must be considered and meet the requirements of mechanical function. First of all, the wear resistance, corrosion resistance and conductivity of steel should be considered. Chromium steel is usually selected, and its wear resistance, conductivity and thermal conductivity can basically meet the requirements of steel aluminum composite conductor rail.
Steel aluminum composite conductor rail has been proved to be a useful and reliable product in long-term application. Compared with low-carbon rail, it has the following advantages:
(1) The conductivity of aluminum alloy is 28-33ms/m, 3-4 times that of non alloy low carbon steel (8.5ms/M). The conductivity of steel aluminum composite conductor is higher than that of low carbon steel conductor. In this new equipment form, the voltage reduction reduces the traction energy consumption proportionally, which increases the power supply distance and reduces the number of substations.
(2) The specific gravity is small, and the equipment is easy to construct: the weight of the steel aluminum composite conductor is less than half of the weight of the low carbon steel conductor with the same cross section. The equipment is simple, the cost is low, and the cost is reasonable, and there is no need for lifting equipment.
(3) Good corrosion resistance and wear resistance: To ensure the excellent corrosion resistance and wear resistance of the steel strip, the steel aluminum composite conductor rail is made of chromium stainless steel with excellent intergranular corrosion resistance. The conductor rail has excellent corrosion resistance when the equipment is operated and tested in the laboratory under marine climate conditions. At the same time, the stainless steel contact surface is smooth and wear-resistant, which can extend the service life of the conductor rail and the collector.
(4) Good resistance: The kneaded composite of aluminum and stainless steel can form a variety of profiles.
(5) Good economic benefits: under the same transportation volume, the cost of steel aluminum composite conductor rail is lower than that of low carbon rail. This is due to: 1) the voltage decreases and the substation demand decreases; 2) The steel aluminum composite conductor rail is light in weight, reducing the equipment cost; 3) The annual digestion cost is low.
Located in Baoshan district of Shanghai, near the famous Bao steel Corporation, we were long
term supplier of Aluminum Corporation of China (Chinalco) and other large-scale state enterprise.
We recommend our best Steel rails, Cathode flat steels and Special steel products to the countries of Belt & Road area. We have enough financial ability and reasonable price, can supply good quality products, good price and superior service to our respected customers.
We can supply all kinds of Chinese standard steel rails and other international standard type of rails, also can make roller to produce special type of steel rail if the quantity is enough. We also can design railroad line as your requirement, and build mining railroad line and crane moving line, and supply the workable fasteners.
We had sold steel rail and fasteners to Australia, England, Singapore, Malaysia, Indonesia, Kenya, Azerbaijan, Albania, Pakistan, Turkey, Korea, Romania, Saudi Arabia, Vietnam, Zimbabwe, Ghana and other countries.
We have dealt with overseas customers for a long time, have rich experiences to solve any problem, solve the difficult in language and technology, and make your required products realized as your wish.
We are glad to accept your Letter of Credit and Third-party inspection, you will be never worry about the security of payment and the quality of products. Look forward to getting long term good cooperation with you in the future.
I. Rail for Railway
1. Standard: TB/T2344-2012, TB/T3276-2011
43 kg/m rail, 50 kg/m rail, 60 kg/m rail, 75kg/m rail
Material: U71Mn, U75V, U76CrRE, U20Mn
2. Standard: GOST-R51685
P50 rail/R50 rail, P65 rail/R65 rail, P75 rail/R75 rail
Material: K76, M76T
3. Standard: UIC860
S49 rail, UIC54 rail, UIC60 rail
Material: 900A, 350HT
4. Standard: JIS E1101
JIS50N rail, JIS60 rail
Material: 235HBW, 340HH, 370HH
5. Standard: AS1085, BHP RT STD
AS50 rail, AS60 rail, AS68 rail
Material: R260, R320, R350HT
6. Standard: AREMA
90 RA rail, 100 RE rail, 115 RE rail, 132 RE rail, 136 RE rail
Material: SS, HH
7. Standard: ASTM
TR45 rail, TR50 rail, TR57 rail, TR68 rail
Material: R260, R320, 350HT
8. Standard: BS11
BS75A rail, BS90A rail, BS100A rail
Material: 900A, 1100
9. Standard: EN 13674-1
49E1 rail, 50E2 rail, 54E1 rail, 60E1 rail, 60E2 rail
Material: R260, R260Mn, 350HT
II. Switch Rail
Standard: TB/T3109-2013
50AT1 rail, 60AT1 rail, 60AT2 rail, 60TY1 rail
Material: U71Mn, U75V, U76CrRE
III. Crane Rail
Standard: YB/T5055-2014, ASTM A759-2000, DIN536
QU70 rail/KP70 rail, QU80 rail/KP80 rail, QU100 rail/KP100 rail, QU120 rail/KP120 rail, CR175 rail, A45, A55, A65, A75, A100, A120, A150
Material: U71Mn, 900A
IV. Grooved Rail
Standard: EN 14811:2006
59R2 rail, 60R2 rail
Material: U75V
New products from manufacturers at wholesale prices