Share on (1600897750673):









ITEM No. | QTY | DESCRIPTION | PART No. | |
1 | 1 | Belt Guard | AH36001-08B.01.00 AH36001-08B.01.00A | |
2 | 1 | Sheave | AH36001-08B.02 | |
3 | 1 | Support Assy. | AH36001-08B.03.00 | |
4 | 1 | Connector NPT1-Gl/Z | AH36001-08B.02 | |
5 | 1 | Connector NPT1” | AH36001-08B.04 | |
6 | 1 | Connector G1-M33X2 | AH36001-08.03 | |
7 | 1 | Connector ZG2-1/2f, | AH33001-08A.07 | |
8 | 1 | Connector ZG2-1/2 “ -NPT2-1/2 | AH36001-08C.04 | |
9 | 1 | Hose 022x037 | L=1500 | |
10 | 2 | Hose Connector ① 22 X 中 37 | AH33001-08.18.00 | |
11 | 2 | 90° Elbow NPT1/Z | AH33001-08.16 | |
12 | 2 | Connection Plate | AH36001-08B.06 | |
13 | 1 | Water Tank | AH36001-08C.01.00 | |
14 | 1 | Tank Cover | AH36001-08C.02.00 | |
15 | 1 | Connector NPT2-1/2 | AH34001-08B.07 | |
16 | 2 | Gasket | AH36001-08B.09 | |
17 | 2 | NPT1〃 Flange | AH36001-08B.10 | |
18 | 2 | Capscrew M8 X 25 | GB73-85 | |
19 | 2 | BeltA3708 | GB1171-74 | |
20 | 2 | Pipe Clamp NO: 3 | ||
21 | 1 | Hose ① 38 X 053 | L=750 | |
22 | 1 | 90° Elbow ZG2-1/2〃 | ||
23 | 4 | BoltM20X30 | GB5780-86 | |
24 | 4 | Washer 20 | GB93-87 | |
25 | 8 | Washer 20 | GB95-85 | |
26 | 4 | BoltM12X40 | GB5780-86 | |
27 | 12 | Washer 12 | GB93-87 | |
28 | 4 | Washer 12 | GB96-85 | |
29 | 8 | BoltM12X60 | GB5780-86 | |
30 | 8 | Nut M12 | GB41-86 | |
31 | 1 | Pump | AH36001-08B.11.00 | |
32 | 1 | Ball Valve Gl,Z | Q11F-16 | |
33 | 1 | Support | AH36001-08C.03.00 |

ITEM No. | QTY. | DESCRIPTION | PART No. | |
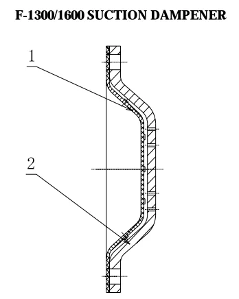
Suction Dampener Assy. | AH33001-05.35A.00 | |||
1 | 1 | Capsule | AH33001-05.35A.02 | |
2 | 1 | Cover | AH33001-05.35A.03 |

ITEM No. | QTY. | DESCRIPTION | PART No. | |
1 | 1 | O-Ring® 165x7 | GB3452.1-82 | |
2 | 1 | Strainer | AH36001-19.01.00 | |
3 | 1 | Strainer Housing | AH33014-04.01 | |
4 | 8 | Stud M39x2-M39x3x 135 | T53-4007 | |
5 | 8 | Nut M39x3 | T57-2011 | |
6 | 1 | Flange 5 1/8 X 35mpa | T58-1002 | |
7 | 3 | Ring Gasket R44 | T58-5002 | |
8 | 1 | Elbow Assy. | AH36003-05.02.00 | |
9 | 1 | Relief Valve Connection Pipe | AH36003-11.02.00 | |
10 | 1 | Pressure Gauge Seat | AH36003-11.01.00 | |
11 | 16 | Stud M27X 170 | T53-1004 | |
12 | 16 | Nut M27 | T57-2005 | |
13 | Loctite | 277 | ||
14 | 1 | Connector R 1 l/2xNPT2” | T512-1001 | |
15 | 1 | Pressure Gauge | YK-150(0-60MPa) | |
16 | 2 | Ring Gasket R27 | T58-5003 | |
R1 | 1 | JA-3 shear Relief Valve | AH33003-00 | |
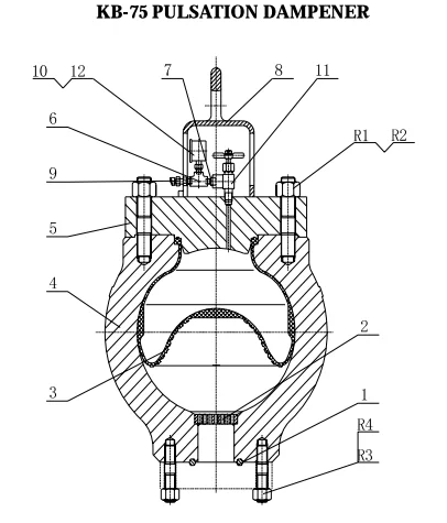
R2 | 1 | Pulsation Dampener | AH33002-00A(KB-75) |

ITEM No. | QTY. | DESCRIPTON | PART No. | |
AH33002-00A | ||||
1 | 1 | Ring gasket R39 | T58-5001 | |
2 | 1 | Bottom plug | AH33002-02 | |
3 | 1 | bladder | AH33002-03.00 | |
4 | 1 | Studded assy. | AH33002-04A.00 | |
5 | 1 | Cover | AH33002-05A | |
6 | 1 | Steel pipe tee NPT 1/4” | AH33002-06 | |
7 | 1 | Connector NPT 1/4〃 | AH33002-07 | |
8 | 1 | Gauge cover | AH33002-08.00 | |
9 | 1 | Purge vavle | PJCi -L8 |
10 | 1 | Double scale pressure gauge 0-25MPa 3630PSI | Y-60 | |
11 | 1 | Needle valve | JZR3-L8 | |
12 | 1 | Washer | T514-1001 | |
R1 | 12 | Stud AM39 X 2-M39X3X110 | T53-4002 | |
R2 | 12 | NutM39X3 | T57-20011 | |
R3 | 8 | Stud AM33 X 2-M33X3X110 | T53-4002 | |
R4 | 8 | NutM33X3 | T57-2009 |

ITEM NO. | QTY | DESCRIPTION | PART NO. | |
1 | 1 | Nut | AH33001-31.10.01A | |
2 | 1 | Sealing Connector | AH33001-31.10.02A | |
3 | 1 | Hose M14X 1.5 | JB1887-77 | |
4 | 1 | Connector | AH33001-31.10.03 | |
5 | 1 | Gasket | AH33001-31.10.04 | |
6 | 1 | Pipe Plug | AH33001-31.10.05 |
ITEM No. | QTY. | DESCRIPTION | PART No. | |
Spare Part List | AH36001-18.00 | |||
1 | 3 | Valve Cover Seal | AH36001-05.13 | |
2 | 6 | Liner Seal | AH36001-05.15 | |
3 | 3 | Ring Gasket R44 | T58-5002 | |
4 | 2 | Gasket | AH33001-09 | |
5 | 1 | Capsule | AH33001-5.35A.02 | |
6 | 1 | Ring Gasket R39 | T5B-5001 | |
7 | 1 | Buffer | AH33003-06 | |
8 | 1 | Bladder | AH33002-03.00 | |
9 | 3 | Cylinder Head Seal | AH36001-05.09 | |
10 | 3 | Oil Seal Ring | AH36001-04.21 | |
11 | 2 | Oil Seal 9.125,z XI 0.37z/ X 0.625 〃 | AH36001-03.08A | |
12 | 6 | Double Lip Oil Seal 5" X 6.2511 X 0.625” | AH36001-04.08A | |
13 | 3 | Piston Rubber ① 170 | AH33001-05.19.06.02A.00 | |
14 | 6 | Valve Rubber | AH36001-05.12A.03 | |
15 | 10 | Shear Pin | AH33003-11A | |
16 | 1 | Piston Assy. | AH33003-03.00 | |
17 | 3 | Piston Seal | AH33001-05.20A | |
18 | 3 | O-Ring ① 190x3.55 | GB3452.1-82 | |
19 | 3 | O-Ring ① 160x7 | GB3452.1-82 | |
20 | 3 | O-Ring ① 95X5.3 | GB3452.1-82 | |
21 | 3 | O-Ring 0200X7 | GB3452.1-82 | |
22 | 3 | O-Ring ① 185x7 | GB3452.1-82 | |
23 | 3 | O-Ring 0 345X7 | GB3452.1-82 | |
24 | 2 | O-Ring 0125x7 | GB3452.1-82 |
ITEM No. | QTY. | DESCRIPTIN | PART No. | |
Tool List | AH36001-17.00 | |||
1 | 1 | Liner Lifting Tool | AH36001-17.03.00 | |
2 | 1 | Seat Lifting Tool | AH36001-17.15.00B | |
3 | 1 | Air Charging Hose Assy. | AH33001-31.10.00 | |
4 | 1 | Manual Hydraulic Pump 70mpa | PSH-II | |
5 | 1 | Valve Seat Removing Block | AH36001-17.24 | |
6 | 1 | SH1/2 Manual Chain Lifting Tool | JB560-64 | |
7 | 1 | Rob | AH36001-17.02A | |
8 | 1 | Connector | AH36001-17.09 | |
9 | 1 | Connector 1” | AH36001-17.12 | |
10 | 1 | 8" Lengthened Rod | AH36001-17.il | |
11 | 1 | 24" Rod | AH36001-17.13 | |
12 | 1 | 19-5/8 Lengthened Rod | AH36001-17.10 | |
13 | 1 | Sleeve 2" | AH36001-17.05 | |
14 | 1 | Sleeve 2-3/8 | AH36001-17.04 | |
15 | 1 | Sleeve 3-5/8 | AH36001-17.06 | |
16 | 1 | Sleeve 1-1/2 | AH36001-17.08 | |
17 | 1 | Long Sleeve | AH36001-17.20.00 | |
18 | 1 | Wrench | ||
19 | 1 | Tape Sleeve | AH36001-17.17 | |
20 | 1 | Sleeve | AH36001-17.18 | |
21 | 1 | Bolt M24X160 | AH36001-17.23 | |
22 | 1 | Flashboard Pulling Tool | AH36001-17.22.00 | |
23 | 1 | Screw Rod | AH36001-17.21.00 |
New products from manufacturers at wholesale prices