Share on (1601014691703):







ITE M No. | QTY | DESCRIPTION | PART No. | ||
F-l300 | F-l600 | ||||
1 | 1 | Key 2" X2" X11 3/8" | AH36001-03.01 | AH36001-03.01 | |
2 | 1 | Pinion Shaft | AH36001-03.02 | AH36001-02.01A | |
3 | 2 | Oil Seal Wear Ring | AH36001-03.03 | AH36001-03.03 | |
4 | 2 | Carrier | AH36001-03.04 | AH36001-03.04 | |
5 | 2 | Gasket | AH36001-03.05 | AH36001-03.05 | |
6 | 2 | Gasket | AH36001-03.06 | AH36001-03.06 | |
7 | 2 | Bearing Carrier | AH36001-03.07A | AH36001-03.07A | |
8 | 2 | Baffle | AH36001-03.10 | AH36001-03.10 | |
9 | 2 | Gasket | AH36001-03.12 | AH36001-03.12 | |
10 | 2 | Oil Collecting Box | AH36001-03.13.00 | AH36001-03.13.00 | |
11 | 24 | Bolt M12x35 | GB5782-86 | GB5782-86 | |
12 | 16 | Bolt M22x50 | GB5782-86 | GB5782-86 | |
13 | 2 | Oil Seal 9.125 x 10.375" xO.625" | AH36001-03.08A | AH36001-03.08A |
14 | 2 | Bearing 4G32844H | AH36001-03.09 | AH36001-03.09 |
15 | 16 | Washer 22 | GB93-87 | GB93-87 |
16 | 24 | Washer 12 | GB93-87 | GB93-87 |
17 | 1 | Flange | AH36001-03.il | AH36001-03.il |
18 | 3 | Bolt M16x45 | GB5783-86 | GB5783-86 |
19 | 3 | Washer 16 | GB93-87 |

ITEM No. | QTY. | DESCRIPTION | PART No. | |
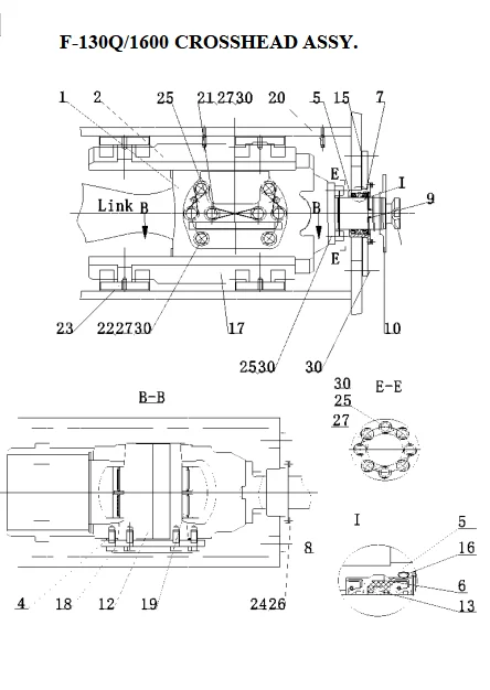
1 | 1 | Crosshead | AH36001-04.01A | |
2 | 1 | Crosshead Guide (Upper) | AH36001-04.02 | |
3 | 8 | Shim Set | AH36001-04.03A.00 | |
4 | 2 | Adjusting Shim | AH36001-04.04 | |
5 | 1 | Diaphragm Stuffing Box | AH360010-04.05 | |
6 | 1 | Sealing Ring | AH36001-04.21 | |
7 | 1 | O-Ring ① 190x3.55 | GB3452.1-82 | |
8 | 2 | Double Lip Oil Seal 5" x6.25〃 x 0.625” | AH36001-04.08A | |
9 | 1 | Lock Spring | AH36001-04.13 | |
10 | 1 | Fluid Baffle Back-Up Plate | AH36001-04.10 | |
11 | 1 | Crosshead Extension | AH36001-04.il | |
12 | 1 | Crosshead Pin | AH36001-04.12A | |
13 | 1 | O-Ring 0125x7 | GB3452.1.-82 | |
14 | 8 | Bolt M20x65 | T52-6005K | |
15 | 1 | Gasket | AH36001-04.15 | |
16 | 1 | O-Ring ① 160x7 | GB3452.1-82 | |
17 | 1 | Crosshead Guide (Lower) | AH36001-04.17 | |
18 | 1 | Crosshead Pin Retainer | AH36001-04.18 | |
19 | 1 | Crosshead Bearing | AH36001-04.19 | |
20 | 2 | Male Connector NPT3/8 " x2 | AH33001-04.07 | |
21 | 2 | Bolt M24x60 | T52-7008K | |
22 | 6 | Bolt M24x70 | T52-7009K | |
23 | 8 | Locking Plate | AH33001-04.13A | |
24 | 4 | BoltM10x25 | GB5780-86 | |
25 | 8 | Bolt M24x65 | GB70-85 | |
26 | 4 | Washer 10 | GB93-87 | |
27 | Lock Wire ① 1.6 | GB4240-84 | ||
30 | 25ml | Loctite ( Lock + Tight) | 243 |

ITE M No. | QTY | DESCRIPTION | PART No. | |
1 | 3 | Fluid End Studded Assy. | AH36001-05.01A.00 | |
2 | 3 | Thread Ring | AH36001-05.02 | |
3 | 3 | Cylinder Cover | AH36001-05.03 | |
4 | 3 | Flashboard Assy. | AH36001-05A.04.00 | |
5 | 3 | Valve Guide ( Lower ) | AH36001-05A.05.00 | |
6 | 3 | Cylinder Head | AH36001-05A.06.00 | |
7 | 3 | Alignment Ring | AH36001-05A.07 | |
8 | 3 | Cylinder Head Seal | AH36001-05.08 | |
9 | 1 | Discharge Manifold | AH36001-05.09 | |
10 | 6 | Valve Spring | AH33001-05.16A | |
11 | 3 | O-Ring ① 95x5.3 | GB3452.1-82 | |
12 | 6 | Valve Assy. | AH36001-05.12A.00 | |
13 | 3 | Valve Cover Seal | AH36001-05.13 | |
14 | 3 | Valve Cover | AH36001-05.14A | |
15 | 3 | Liner Seal | AH36001-05.15 | |
16 | 3 | Wear Plate | AH36001-05.16A | |
17 | 3 | Liner Flange | AH36001-05.17 | |
18 | 3 | Liner Lock | AH36001-05.18.00 | |
19 | 3 | Piston Rod | AH36001-05.19A | |
20 | 1 | Spray Pipe Assy. | AH36001-05.20A.00 | |
21 | 3 | O-Ring 0200x7 | GB3452.1-82 | |
22 | 3 | Liner Locking Ring | AH36001-05.22 | |
23 | 3 | Liner | AH36001-05.23A.00 | |
24 | 3 | Piston Rod Clamp | AH36001-05.24.00 | |
27 | 3 | Liner End Cover | AH36001-05.27 | |
28 | 3 | Piston | AH36001-05.28.00 | |
29 | 18 | BoltM22x65 | GB5782-86 | |
32 | 1 | Suction Manifold | AH36001-05.32A.00 | |
33 | 4 | Shim Set | AH36001-05..33A.00 | |
35 | 3 | Valve Guide (Upper) | AH33001-05.12 | |
36 | 16 | Bolt M39x270 | T53-1003 | |
37 | 44 | Nut M39x8 | T57-2011 | |
38 | 3 | Retainer | AH33001-05.14 | |
39 | 12 | Bolt M10x20 | AH33001-05.15A | |
40 | 3 | Piston Seal | AH33001-05.20A | |
41 | 3 | Piston Nut | T57-3005.0 | |
42 | 3 | O-Ring® 185x7 | GB3452.1-82 | |
43 | 1 | Suction Damper | AH33001-05.35A.00 | |
44 | 3 | O-Ring 0 345x7 | GB3452.1-82 | |
45 | 1 | Suction Flange (I) | AH33001-05.39 |
46 | 1 | Suction Flange (II) | AH33001-05.40 | |
47 | 36 | NutM27 | 8841-86 | |
48 | 24 | Bolt M27x90 | GB5780-86 | |
49 | 1 | Stainless Wire ① 1.6x1830 | GB4240-84 | |
51 | 1 | Screw Plug NPT 1-1/2 | T56-1007 | |
52 | 12 | Stud M39x563 | AH36001-05.35B | |
53 | 190ml | Locitite 243 | 243 | |
54 | 1 | Suction Hole Baffle | T55-1006 | |
55 | 1 | Discharge Hole Baffle | T55-1008 | |
56 | 30 | Washer 39 | AH36001-05.39 | |
57 | 12 | Bolt M27x80 | GB5780-86 |

ITEM No. | QTY. | DESCRIPTION | PART No. | ||
F-1300 | F-1600 | ||||
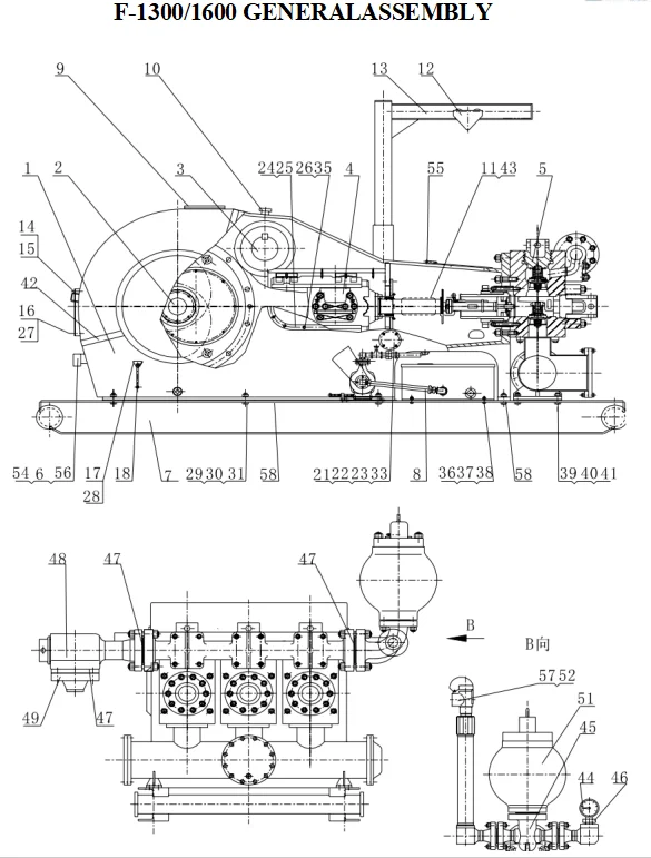
1 | 1 | Frame Assembly | AH36001-01.00D | AH3600-01.00D | |
2 | Crank Shaft | AH36001-02.00 | AH37001-01.00 | ||
3 | 1 | Pinion Shaft | AH36001-03.00 | AH37001-02.00 | |
4 | 3 | Crosshead Assembly | AH36001-04.00 | AH36001-04.00 | |
5 | 1 | Fluid End Assembly | AH36001-05A.00 | AH36001-05A.00 | |
6 | Lubrication Assembly | AH36001-06C.00 | AH36001-06C.00 | ||
7 | 1 | Skid | AH36001-07K.00 | AH36001-07K.00 | |
8 | 1 | Piston &Liner | AH36001-08C.00 | AH36001-08C.00 | |
9 | Gasket ,Inspect Door | AH33001-09 | AH33001-09 | ||
10 | 1 | Breather Cap | T515-1001.00 | T515-1001.00 | |
11 | 2 | Bs Name Plate | AH36001-09A | AH37001-03A | |
12 | 1 | Crane | AH36001-10.00 | AH36001-10.00 | |
13 | Crane | AH36001-11A.00 | AH36001-11A.00 | ||
14 | 1 | Cover Plate | AH36001-12.00 | AH36001-12.00 | |
15 | Gasket | AH36001-13 | AH36001-13 | ||
16 | 14 | Bolt M12×25 | GB5780-86 | GB5780-86 | |
17 | 2 | Oil Level Indication | AH33001-17 | AH33001-17 | |
18 | 2 | Oil Leyer Indicator | AH33001-18.00 | AH33001-18.00 | |
21 | 2 | Clean Out Cover(IⅢ〉 | AH33001-22.00 | AH33001-22.00 | |
22 | 2 | Gasket | AH36001-19 | AH36001-19 | |
23 | 8 | Bolt M12×35 | GB5780-86 | GB5780-86 | |
24 | 2 | Crosshead Door | AH36001-15A | AH36001-15A | |
25 | 2 | Gasket | AH36001-16 | AH36001-16 | |
26 | 28 | Bolt M16×24 | GB5780-86 | GB5780-86 | |
27 | 14 | Washer 12 | GB848-85 | GB848-85 | |
28 | 6 | Rivet 3×10 | GB827-76 | GB827-76 | |
29 | 28 | Bolt M27×90 | GB5780-86 | GB5780-86 | |
30 | 8 | Nut M27 | GB41-86 | GB41-86 |
31 | 8 | Washer 27 | GB93-87 | GB93-87 |
33 | 22 | Washer 12 | GB848-85 | GB848-85 |
35 | 28 | Washer 16 | GB848-85 | GB848-85 |
36 | 4 | Bolt M16×60 | GB5780-86 | GB5780-86 |
37 | 6 | Nut M16 | GB41-86 | GB41-86 |
38 | 4 | Washer 16 | GB93-87 | GB93-87 |
39 | 8 | Bolt M24×110 | GB5780-86 | GB5780-86 |
40 | 8 | Nut M24 | GB41-86 | GB41-86 |
41 | 8 | Washer 24 | GB93-87 | GB93-87 |
42 | Rubber Bar | 40×10×5800 | ||
43 | 8 | Cap Screw M4×16 | GB818-85 | GB818-85 |
44 | Double Scale | Yk-150ZG11/2” | Yk-150ZG11/2" | |
45 | Discharge Elbow | AH36003-11.00 | AH36003-11.00 | |
46 | Screw Plug ZG11/2 | Q/ZB286.6 | Q/ZB286.6 | |
47 | 3 | Ring Gasket R44 | T58-5002 | T58-5002 |
48 | Discharge Strainer | AH33014-04.00 | AH33014-04.00 | |
49 | Flange | T58-1002 | T58-1002 | |
50 | Tool | AH36001-17.00 | AH36001-17.00 | |
51 | KB-75 Pulsation | AAH33002-00A | AAH33002-00A | |
52 | JA-3shear Relief | AH33003-00 | AH33003-00 | |
53 | Spare Parts | AH36001-18.00 | AH36001-18.00 | |
55 | 1 | Cover Assy. | AH36001-21B.00 | AH36001-21B.00 |
57 | 10ml | Glue for Screw Lock | 243 | 243 |
58 | Adjusting Shim | AH36001-23 | AH36001-23 |

ITE M No. | QTY | DESCRIPTION | PART No. | ||
F-1300 | F-1600 | ||||
2 | Main Bearing Cover | AH36001-02.01C.00 | AH37001-01.01C.00 | ||
2 | Bearing Carrier Right | AH36001-02.02 | AH37001-01.02 | ||
3 | 2 | Gasket Main Bearing Cover | AH36001-02.03 | AH36001-02.03 | |
4 | 2 | Inner Race Retainer | AH36001-02.04 | AH36001-02.04 | |
5 | 3 | Outer Race Retainer | AH36001-02.05 | AH37001-01.03 | |
6 | 3 | Eccentric Strap | AH36001-02.06 | AH37001-01.04 | |
7 | 1 | Inner Race Retainer (I) | AH36001-02.07 | AH36001-02.07 | |
8 | 1 | Crankshaft | AH36001-02.08A.00 | AH36001-02.08A.00 | |
9 | 1 | Inner Race Retainer(II) | AH36001-02.09 | AH36001-02.09 | |
10 | 1 | Eccentric Ring Gear | AH36001-02.10D.00 | AH37001-01.05D.00 | |
11 | 12 | Capscrew M39× 3-6g×14C | T52-3007 | T52-3007 | |
12 | 2 | Spacer,Main Bearing | AH36001-02.12 | AH36001-02.12 | |
13 | 1 | Bearing Carrier (Left) | AH36001-02.13 | AH3701-01.06 | |
14 | 2 | Outer Race Retainer | AH36001-02.14 | AH37001-01.07 | |
15 | 2 | Inner Race Retainer | AH36001-02.15 | AH36001-02.15 | |
16 | 4 | Housing Bolt Main Bearing | AH36001-02.16C | AH36001-02.16C | |
17 | Shim Set | AH36001-02.17 | AH36001-02.17 | ||
18 | 2 | Capscrew M16×120 | T52-6006K | T52-6006K | |
19 | 12 | Lock Nut M39×3-6H | T57-3005.0 | T57-3005.0 | |
20 | 72 | Capscrew M16×40 | T57-7003K | T57-7003K |
21 | 28 | Capscrew M16×45 | GB5780-86 | GB5780-86 |
22 | 3 | Eccentric Bearing | AH36001-02.19.00 | AH37001-01.08.00 |
23 | 2 | Bearing 3G3760HY | AH36001-02.20.00 | AH37001-01.09.00 |
24 | 28 | Washer 16 | GB848-85 | GB848-85 |
25 | 40m | Lock Wireφ1.5 | GB343-82 | GB343-82 |
26 | 3m | Lock Wire φ1.5 | GB343-82 | GB343-82 |
27 | 90ml | Loctite | 243 | 243 |
28 | 2 | Capscrew M16×100 | T52-6004K | T52-6004K |

ITE M No. | QTY. | DESCRIPTION | PART No. | ||
F-1300 | F-1600 | ||||
1 | Key 2"×2”×113/8" | AH36001-03.01 | AH36001-03.01 | ||
2 | Pinion Shaft | AH36001-03.02 | AH36001-02.01A | ||
3 | 2 | Oil Seal Wear Ring | AH36001-03.03 | AH36001-03.03 | |
4 | 2 | Carrier | AH36001-03.04 | AH36001-03.04 | |
5 | 2 | Gasket | AH36001-03.05 | AH36001-03.05 | |
6 | 2 | Gasket | AH36001-03.06 | AH36001-03.06 | |
7 | 2 | Bearing Carrier | AH36001-03.07A | AH36001-03.07A | |
8 | 2 | Baffle | AH36001-03.10 | AH36001-03.10 | |
9 | 2 | Gaskel | AH36001-03.12 | AH36001-03.12 | |
10 | 2 | Oil Collecting Box | AH36001-03.13.00 | AH36001-03.13.00 | |
11 | 24 | Bolt M12×35 | GB5782-86 | GB5782-86 | |
12 | 16 | Bolt M22×50 | GB5782-86 | GB5782-86 | |
13 | 2 | Oil Seal 9.125” ×10.375”×0.625” | AH36001-03.08A | AH36001-03.08A |
14 | 2 | Bearing 4G32844H | AH36001-03.09 | AH36001-03.09 |
15 | 16 | Washer 22 | GB93-87 | GB93-87 |
16 | 24 | Washer 12 | GB93-87 | GB93-87 |
17 | 1 | Flange | AH36001-03.11 | AH36001-03.11 |
18 | 3 | Bolt M16×45 | GB5783-86 | GB5783-86 |
19 | 3 | Washer 16 | GB93-87 |
New products from manufacturers at wholesale prices