2.0-10V Dimmable, Motion sensor;
3.Equipped with a dip switch for stepwise adjustment of power and color temperature;
4.Emergency module when needed, external emergency battery back up for option.
Share on (1601074902590):












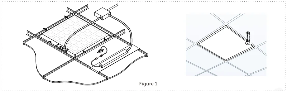
Product Name | led panel light frame |
Material | Aluminum body+PMMA lens |
Power | 2x2FT: 20W/25W/30W/36W/40W or tunable optional 2x4FT: 25W/30W/40W/45W/50W or tunable optional 1x4FT: 20W/25W/30W/36W/40W or tunable optional |
Voltage | 100-277VAC |
Lumen Efficiency | 110-125 LM/W |
Color Temperature | 3500K/4000K/5000K or tunable |
CRI | 80 |
Lifespan & Warranty | 50000 hours 5 years |






New products from manufacturers at wholesale prices