Share on (251064261):
Dimensions | 1200mm×900mm×1100mm |
Coating weight | 100 kg |
Marking width | 100mm, 150mm, 200mm, 250mm, 300mm, 400mm and 450mm |
Marking speed | 500-1000m/h |
Complete machine weight | 120 kg |
XDRJ-S100/150/200/300 Hand-moving thermoplastic marking machine is a special road marking equipment for various reflective lines, such as road centerlines, lane dviders and marking lines at the place like airport, such as straight lines, dotted lines, curve line, directional arrows, words writing.
A variety of marking lines, such as straight lines, dotted lines, curves, guiding arrows, and writing, can be marked with reflective road centerlines, lane dividers and airports.
This marking machine could match different coating bucket of 100mm,150mm,200mm 300mm,400mm,450mm as per the width request of road marking lines.

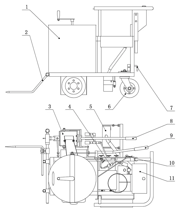
Instructions:
1,Coating Bucket
2,Surveyor's Rod
3,Coating Bucket
4,Buring Torch
5,The Glass Beads Sowing Device
6,Tail Wheel
7,Tail Wheel Locating Pin
8,Bucket Handle
9,Discharge Port Valve Hadle
10,Glass Bead Gate Spanner
11,Glass Bead Box
New products from manufacturers at wholesale prices