Share on (60393103764):
Bridge Construction Pt Anchor mono stressing jack


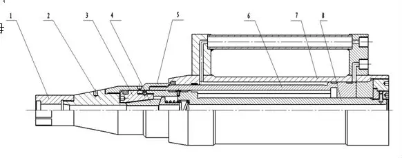
1. stop nut 2.anchor-return connect body 3. anchor ring 4. tool gripper
5. supporting seat 6. piston 7. oil cylinder 8. draw bar





New products from manufacturers at wholesale prices