Share on (60848664845):
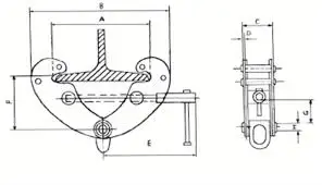
10Ton Lifting Steel Beam Clamp Girder Clamp Clamp
Product Specifications:

Product Details:



Product Show:

Please click here, view more:
New products from manufacturers at wholesale prices