Share on (62010590756):
Yantai Jinpeng Mining Machinery CO., LTD
Professional mineral processing design, equipment production,installation and conmissioning institue.
24-hour free hotline:+86-01056052822
Technology consulting:+86-13381157789
Permanent magnetic Vaccum filter
It is an ordinary type filter which has super speed by adjusting motor. It has the advantages of simple structure, low price, convenient use, less maintenance and less wearing.

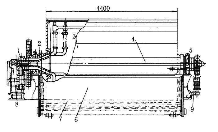
1.9-left and right distribution head; 2-throat tube; 3-simplified; 4-scraper; 5-main bearing; 6-slurry tank; 7-mixer; 8-drive mechanism
Work principle
The inside of the cylinder is installed with a strontium ferrite permanent magnetic system. The system can make the magnetic particles rapidly be adsorbed to the filter surface.
The magnetic filter is mainly used for the dehydration of coarse-grained strong magnetic minerals concentrate slurry.
Because of the upper feeding, the effect of concentrate granularity stratification in the filter cake is more obvious.
When the magnetic concentrate forms the filter cake, the particles are affected by the action of gravity and magnetic force. The movement speed of coarse concentrate to the cloth is faster than that of fine particles concentrate. So the concentrate particles contact the filter cloth first and the filter cake’s permeability is good.
Under the effect of magnetic attraction, the magnetic particles in the slurry distribute in radial shape on cylinder’s surface. The change of polarity magnetic system has a magnetic stirring effect. These become the favorable conditions of filter cake easy to dehydrate, and make the cake thick and have good air permeability.
So the productivity has been raised greatly. Compared with the same specifications cylinder vacuum filter, the efficiency is increased by more than three times.

Better Granular Scalability, better air permeability of the filter cake;
With magnetic stirring function, it benefits for dewatering work;
Higher productivity, lower operation cost.

Technical specification
| Vaccum permanent magnet filter | ||||||||||
model | filter area (m²) | barrel specification (mm) | barrel speed (r/min) | Tube sheet of magnetic induction intensity | vacuum pressure (kpa) | swept volume (m³/min.m²) | Blast indicated pressure (kpa) | Production capacity (t/h) | motor power (KW) | weight (T) |
SGYW-3 | 3 | Φ1600×700 | 0.5-2 | 82 | 60-80 | 0.5-2 | 42673 | 42530 | 1.5 | 3.3 |
SGYW-5 | 5 | Φ2000×900 | 0.5-2 | 82 | 60-80 | 0.5-2 | 42673 | 14-18 | 1.5 | 3.9 |
SGYW-8 | 8 | Φ2000×1400 | 0.5-2 | 82 | 60-80 | 0.5-2 | 42673 | 22-43 | 1.5 | 4.8 |
SGYW-12 | 12 | Φ2000×2000 | 0.5-2 | 87 | 60-80 | 0.5-2 | 42673 | 33-65 | 2.2 | 5.4 |
SGYW-20 | 20 | Φ2550×2650 | 0.5-2 | 87 | 60-80 | 0.5-2 | 42673 | 50-100 | 4 | 6.5 |
photos



The drum filter usually used in the following flow sheet

Factory scene

Provide ore dressing experiment,process design and onsite engineering service.
Customer visit

Warmly welcome to visit our company and discuss win-win cooperation!
New products from manufacturers at wholesale prices