special offer IC diode triode MOSFET transistor NE555 PC817 PCR406 SOP 8 DIP 8 SOP 4 DIP 4 TO 92 cd4017

Share on (62339083234):


Price:

Quantity:


Product Overview

Description



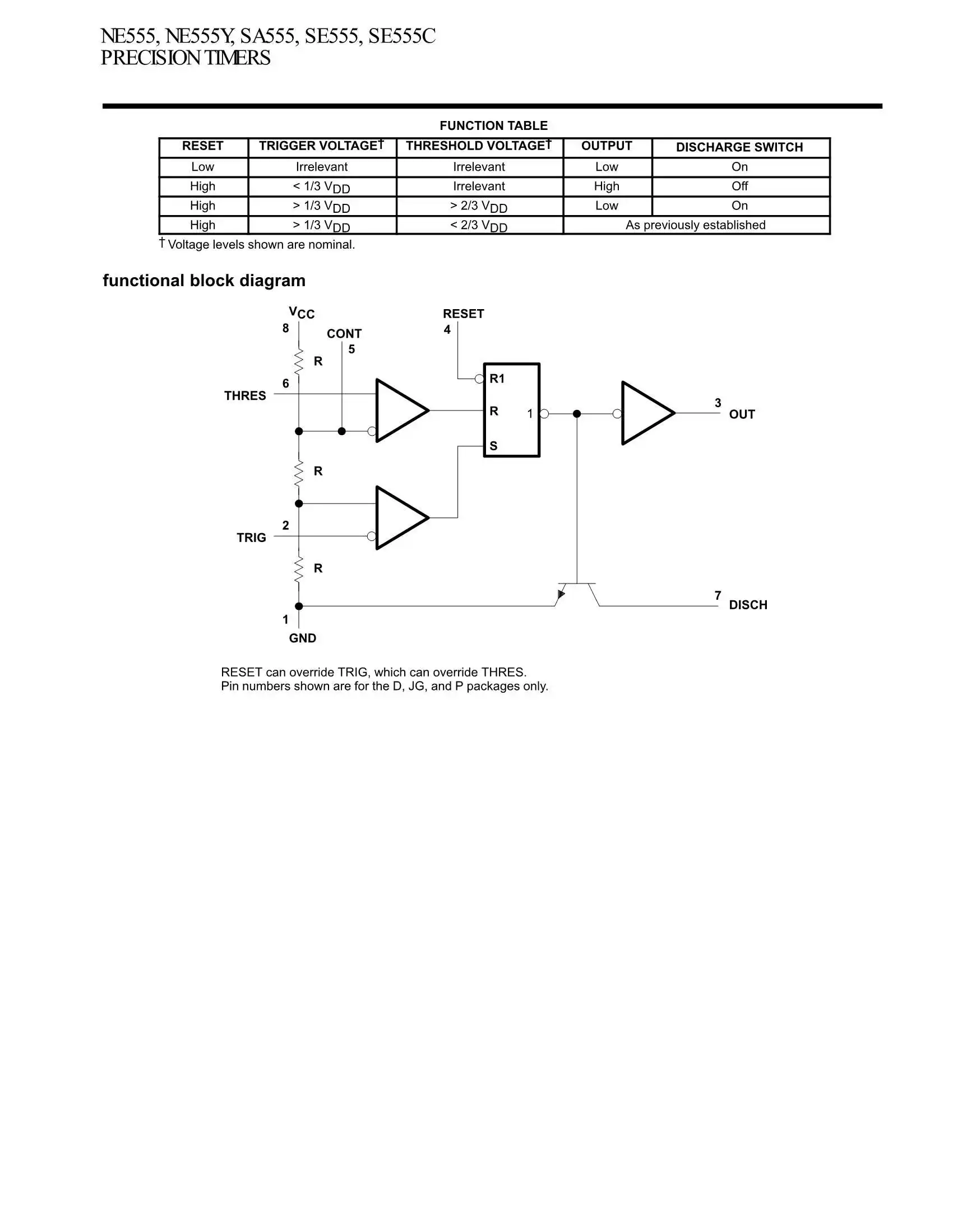
Specification


_05.jpg 


 NE555_1.PngNE555_2.PngNE555_3.PngNE555_4.PngNE555_5.Png 


 





Company Information




Certifications


.jpg 





Transport


_19.jpg


 





Home



0.1915 s.