Сохранить в закладки 60835356232:
Yantai Jinpeng Mining Machinery CO., LTD
Professional mineral processing design, equipment production,installation and conmissioning institue.
24-hour free hotline:+86-01056052822
Technology consulting:+86-13381157789
High quality gold centrifugal separator

Description
The Gold Concentration Separator is a new type of gravity concentration equipment for concentrating gold and other high density minerals. The centrifugal concentrator gets many competitive advantages compared with other concentration machines which create high returns for the investors.
The Gold Concentration Separator, which is also called centrifugal concentrator is usually used for roughing separation during the gold separation flowchart to recover most of the useful minerals and get rid of most of the barren rocks.

Application
STLB Gold Concentration Separator is kind centrifugal concentration equipment. It can be used not only for placer gold mining, but also for hard rock mining to recover the natural gold, replacing amalgamation. It is also used to recover gold from the old tailings.
Since 1985, three models of Gold Concentration Separator have been developed. Application shows that the recovery can be as high as 99%, especially for the case in recovering the natural gold in lode ore with 65% of the ore having a milling size of—0.074mm, the recovery for the natural gold is expected up to 98%. For that natural gold of 0.004mm in particle size, the recovery is 97%. The cleaning up cycle is 1~4 hours. And the upgrade ratio is up to 1,000 times.
structure

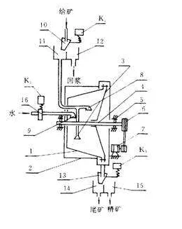
Centrifugal concentrator structure diagram
1—drum; 2—shield; 3—chassis; 4—spindle; 5-bearing; 6—pulley wheel; 7—motor;
8—feeding nozzle; 9—washing nozzle; 10—feeding distributor; 11—feeding tank; 12—recreting tank;
13—discharge distributor; 14—tailing tank; 15—concentrate tank; 16—high pressure water valve K1, K2, K3—control mechanism

Working principle
The materials are uniformly fed to the belt. When materials go through the permanent magnetic drum, the non-magnetic and low-magnetic particles will leave the belt surface because of the centrifugal force and gravitation. Meanwhile, strong-magnetic particles are absorbed to the belt by magnetic force and then fall into the magnetic trough when the belt leaving the magnetic pulley.

Features
·High recovery rate: Through our test, the recovery rate for placer gold can be 98% or more, for rock gold, the recovery rate could reach 97% when the feeding size is below 0.04mm.
·High efficiency: STLB60 Gold Concentration Separator has a capacity of 15-30TPH, and STLB100 Gold Concentration Separator has a capacity of 60-100TPH. Only one machine could give you such a high capacity and high recovery rate. It's the most efficient concentration equipment in our factory.
·Easy to install: only a small leveled place required. It's a complete machine, before starting it, only need to connect the fluidization water and power.
Easy to adjust: there are only 2 factors that will affect the recovery result, they are water pressure and feeding size. By giving proper water pressure and feeding size, you could get the best recovery effect.
·Easy to operate: after finishing the water pressure and feeding size adjust, what U have to do is to fetch the concentrates every 2-4 hours. (Depending on the grade of the mine)
·No pollution: this machine only consumes water and electric power, and exhaust tailings and water. Low noise, no chemical agent involved.
·Reliable: this Gold Concentration Separator gets a simple & tough structure, the main body is made by strong steel, and the concentrate cone is made by stainless steel. And the bearing is greased to keep it running well.

Parameters
| Centrifugal separator | |||||||
Model | Type 19 | Type 30 | Type 60 | Type 70 | Type 80 | Type 100 | Type 120 |
Production capacity(t/h) | 0.25-1 | 2-8 | 10-40 | 25-30 | 35-60 | 80-120 | 120-180 |
Max particle(mm) | 0-3 | 0-4 | 0-6 | 0-6 | 0-6 | 0-6 | 0-6 |
Feed density(%) | 0-50 | 0-50 | 0-50 | 0-50 | 0-50 | 0-50 | 0-50 |
Recoil water(t/h) | 1.5-2 | 4-6 | 10-15 | 17-25 | 20-30 | 40-60 | 70-80 |
Concentrate production(Kg/time) | 2-3 | 10-20 | 30-40 | 50-60 | 60-70 | 70-80 | 110-120 |
Motor power(kw) | 0.75 | 1.5 | 5.5 | 7.5 | 11 | 18.5 | 22 |
Cone rotational speed(r/min) | 800 | 600 | 460 | 430 | 400 | 360 | 360 |
Pressure(Mpa) | 0.04 | 0.12 | 0.25 | 0.3 | 0.35 | 0.4 | 0.5 |
Boundary dimension(m) | 0.8×0.8×0.8 | 1.2×1.2×1.3 | 2 ×1.7×1.8 | 2.1 ×1.7×2 | 2.3×1.8×2.2 | 2.5×2.0×2.4 | 2.7 ×2.2×2.6 |
Weight(kg) | 145 | 400 | 1300 | 1900 | 2000 | 2500 | 3000 |


Factory scene

Provide ore dressing experiment,process design and onsite engineering service.
Customer visit

Warmly welcome to visit our company and discuss win-win cooperation!
Новинки товаров от производителей по оптовым ценам