Китайские поставщики, оборудование для производства скважин для дайвинга, обычный насос с лучом осла

Share on (60712470942):


Price:

Quantity:


Product Overview

Description


Product Description

Brief Introduction

API 11E Beam Pumping Unit is beam balanced units.These units fill the need of economically producing many of the shallow wells. It's a common type of suker rod pumpiing surface unit.

Product Detail

                                                                 API B Series Beam Pumping Unit 

                                                              Structure drawing


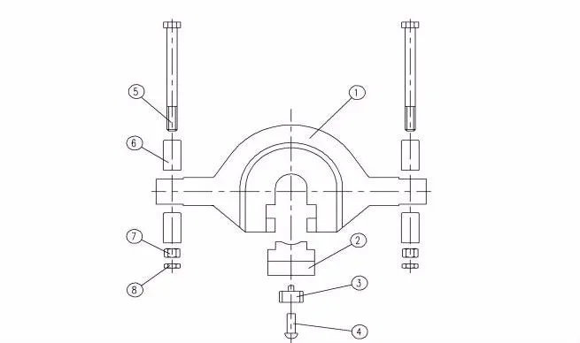
 Carrier Bar

Description: Body,Baffile,Lock,block,Rivet,Bolt,Sleeve,Nut 

Introduction: 

Carrier bar is used to connect polished rod, wire line and polish rod clips,high strength stability.


Wire Line

Description: Carrier Bar 

Introduction:

The wire line is made of multiplayer, nontorsional steel wire. With enough strength, complied with API 11E Specifications.



Head
Description:Horse head
Introduction: Germany
Horse head is welded with steel plate. Wire line is hung in the horse  head rope supplort. The horse head connect to front of the walking beam.


Walking Beam
Description:Walking Beam,Bolt,Nut,Center bearing assembly,Beariing Cover,Beam Counter Weights
Introduction:
Walking beam is welded with steel plate. The front end of walking beam connect with horse-head through horse-head pin, and connect with equalizer at the rear. Whole walkiing beam is fixed on the center bearing.


Belt Guard

Description: Side fence,Front fencs,Bolt,Oblique gaskets,Washer,Spring Washer,Nut.
Introduction: 
Belt guard is the safety guard facility of the pumping unit. It is made of solid plate and bolted to the pumping unit's base assembly and the gear reducer.

Wan to know more, please contact Lillian.

Please  supply following information, that I can make the quotation list soon:
1.Gear Reducer:Peak Torque Rating,Reductioin ratio,Type of bearings.
2.Frame structure:Unit structure rating,Range of stroke,Beam Counter Weights,Wrist Pin Bearing,Color.
3.Quantity.
4.Trading method:EXW, FOB, CIF(CIF need the destination port) ...
If  have model is better, such as B-80D-119-64
Technical Parameters
 Beam Pumping Unit Main Technical Parameters
Packing & Delivery
\t
Packaging
\t
Name
\t
Parts/Tools/Files
\t
Method
\t
Iron BOx
\t



Packaging Details
\t
Pumpiing units small parts,tools and files(Operation Manual,Parts Catalog) in to the Iron box,then with the Main Machine in to the container
\t
Packaging
\t
Name
\t
Main Machine
\t
Method
\t
Naked
\t


Packaging Details
\t
After fixed, Pumping units main machine naked into the container.
Iron Box

Parts,Tools, Files

Fixed

Fixed and ready to delivery

Loading

Crane to assist in loading

Loading Finished

All the part into the container

Domestic Transport

Container is transported to the port.

Sea Shippinig

Container loaded on board, travel across the sea to the port of destination.


Remarks:

The number of containers required fot the pumping unit shipment depends on the model.

Our Company

Workshop Show

Factory Show

Team Show

The China Import and Export Fair


Foreign Exhibition


International Trade Service Team

Welcome friends from all over the world come to visit our factory and guidance our work.

3.227 s.